| YP系列(压力式)水力测功器 | |||||||||||||||||||||||||||||||||||||||||||||||||||||||||||||||||||||||||||||||||||||||||||||||||||||||||||||||||||||||||||||||||||||||||||||||||||||||||||||||||||||||||||||||||||||||||||||||||||||||||||||||||||||||||||||||||||||||||||||||||||||||||||||||||||||||||||||||||||||||||||||||||||||||||||||||||||||||||||||||||||||||||||||||||||||||||||||||||||||||||||||||||||||||||||||||||||||||||||||||||||||||||||||||||||||||||||||||||||||||||||||||||||||||
| 来源: 点击数:38685次 更新时间:2024/2/4 9:27:21 | |||||||||||||||||||||||||||||||||||||||||||||||||||||||||||||||||||||||||||||||||||||||||||||||||||||||||||||||||||||||||||||||||||||||||||||||||||||||||||||||||||||||||||||||||||||||||||||||||||||||||||||||||||||||||||||||||||||||||||||||||||||||||||||||||||||||||||||||||||||||||||||||||||||||||||||||||||||||||||||||||||||||||||||||||||||||||||||||||||||||||||||||||||||||||||||||||||||||||||||||||||||||||||||||||||||||||||||||||||||||||||||||||||||||
一、概述 YP系列(压力式)水力测功机, 国外在60、70年代已广泛使用。我国在85年通过许可证贸易, 引进了西德策尔纳(zoller)公司技术, 开发生产该型号的先进测功机。目前该工艺技术在国内已经成熟应用于全系列产品生产。国际上,有英国弗鲁特,美国的开恩公司。另外,国内有两家通过仿造,也已小批量生产这种系列产品。我公司通过消化、吸收国外技术,进行全新优化设计、生产,可提供全系列产品。
YP系列水力测功机共有12个规格,均采用电动排水蝶阀控制。即通过改变蝶阀的开度来改变吸收功率的大小。制动功率范围从20KW到5900KW,品种齐全,国内外用户根据自己发动机功率范围选择合适的机型选购。
该产品主要用来检测各种柴油机、汽油机、电动机等动力机的有效功率。是动力机特性试验、传动机械的效率试验中不可缺少的测试设备。
该产品基本型为单方向测试,用户如需同时双向试验订货时请提出要求后,我公司给予专门定制。
二、技术规范
1.主要特点 2.测量性能指标
3.技术参数
本表单位:mm
4. 特性曲线
三、测功机的结构
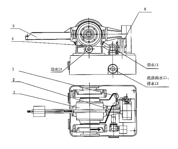
YP型水力测功机主要由机体部件、测力机构部件、进排水部件、校正部件、电动排水阀部件、自动调节装置部件和润滑部件等组成。见图二(a)、(b)。
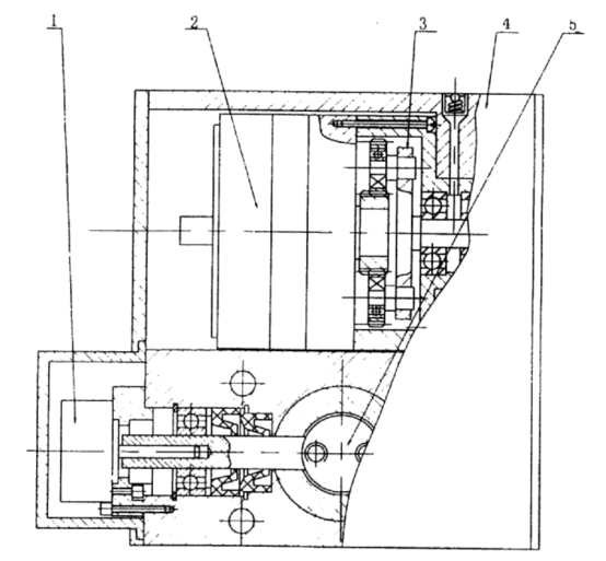
图二(b)Y880-S、Y1900-S、Y3300-S水力测功机外形示意图 1、机体部件 2、测功部件 3、润滑部件 4、进排水部件 5、校正部件 6、自动调节装置部件
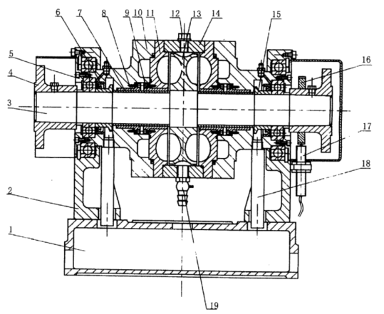
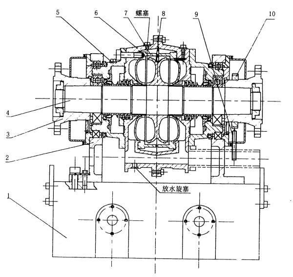
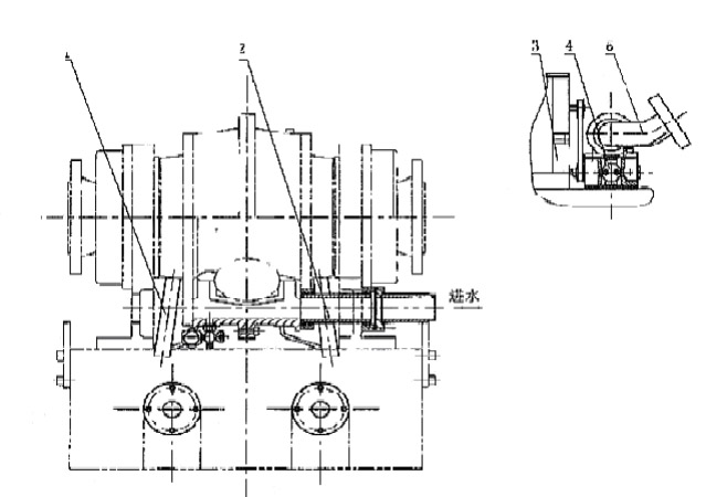
图三(a)YP1900机体部件结构示意图 1、底座 2、左右轴承座 3、主轴部件 4、联轴节 5、轴承压板 6、骨架油封 7、轴套 8.9、双金属轴套 10、左右轴承外壳 11、左右侧壳 12、螺塞 13、转子 14、外壳 15、封水圈 16、测速齿轮 17、转速传感器 18、溢水管 19、旋塞
> 图三(b)YP1900机体部件结构示意图 1、底座 2、轴承座 3、联轴节 4、主轴部件 5、轴承壳 6、外壳 7、侧壳 8、转子 9、转速传感器 10、测速齿轮
2.测力机构部件
测力机构部件用于测定制动力,见图四(a)、(b)。
主要由制动臂、拉压力传感器和活节螺栓等组成。机体部件所产生的制动力矩与制动臂上拉压力传感器的反力矩相平衡,由电子数字显示仪器显示制动力的大小。工作过程中为保护传感器,在一端活节螺栓处加装有尼龙圈或橡胶圈,起到缓冲作用,同时为防止运输中传感器受振动后损坏,设有支撑固定保护装置,在使用中须松开固定传感器的螺栓,把活动板拉向一边,无活动板的只要旋去螺栓即可。
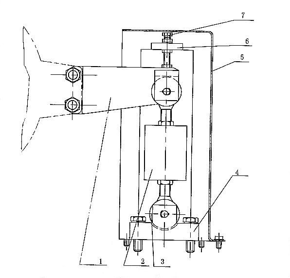
图四(a)YP20、YP60、YP120、YP250、YP380、YP520、YP660 测力机构部件示意图 1、制动臂 2、拉压力传感器 3、活节螺栓 4、支承座 5、保护罩 6、活动板 7、螺栓
图四(b)YP1900测力机机构示意图 1、制动臂 2、固定螺栓 3、活节螺栓 4、拉压力传感器
3、 进排水部件
进排水部件由进水部件与排水部件组成。主要用于测功机工作时低温水的进入与高温水的排出,见图五(a)、(b)。
YP60、YP120、YP250、YP380、YP520、YP660型水力测功机的进水部件由支架、管道、弯管组成,弯管与机体部件左右轴承外壳连接形成测功机的进水管路。
排水部件由支架、管道、弯头组成。弯头与外壳连接形成测功机的排水管路。机体部件中甩水圈甩出的水经溢水管流入底座后排出。
YP880、YP1200、YP1900、YP2500、YP3300、YP5900型测功机的进水部件由进水阀部件、进水管等组成。排水部件由排水蝶阀、排水弯管、排水执行器等组成。
图五(a)Y1900进排水部件示意图
1、溢水管 2、透气管 3、进水部件(5、弯管 6、管道 7、支架)4、排水部件(8、支架 9、管道 10、弯头)
图五(b)Y880-S、Y1900-S、Y3300-S进排水部件示意图
1、溢水管 2、进水部件 3、排水执行器 4、排水蝶阀 5、排水弯管
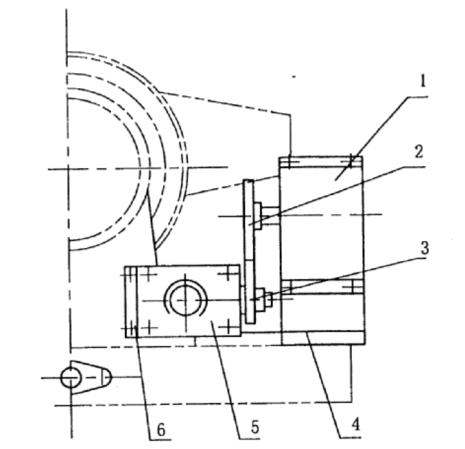
4、 校正部件(静校部件)
校正部件用来作为测功机静校之用,见图六。
它主要由校正臂、吊勾部件、吊杆、托盘及砝码等组成。
测功机主轴中心到静校臂三角刀口距离L值及砝码总重量W见下表。
L及W值
图六 校正部件示意图
5、 电动排水阀部件
DPF电动排水阀部件用来自动控制排水阀的阀片开度位置,调正测功机内腔压力,使水环厚度随之产生变化而改变工况,即改变吸收负荷的大小,见图七。
主要由壳体、力矩电机、行星齿轮副、蝶阀、电位器等组成。与电控柜配套,可实现隔室操纵阀门开度。
YP60、YP120、YP250、YP380、YP520、YP660型水力测功机均采用此种形式来控制排水蝶阀。
图七 DPF电动排水阀部件示意力图 1、电位器 2、力矩电机 3、行星副 4、壳体 5、蝶阀
6、 自动调节装置部件
自动调节装置部件是通过排水执行器来控制排水蝶阀的阀片开度位置,调节测功机内腔压力来改变负荷的大小,见图八。
图八 自动调节装置部件示意图 主要由排水执行器、排水蝶阀、支承板、齿轮副等组成。 YP880、YP1200、YP1900、YP2500、YP3300、YP5900型水力测功机均采用此种形式来控制排水蝶阀。 YP880、YP1200、YP1900型测功机配我厂生产的YZ60A排水执行器,YP2500、YP3300、YP5900型测功机配YZ20排水执行器。
7、润滑部件
润滑部件主要用于测功机滚动轴承润滑。
YP60、YP120、YP250、YP380、YP520、YP660型水力测功机润滑部件均采用脂润滑,其位置见图二(a)。可用压力加油器(油轮)直接加注ZL45-2锂基润滑脂,具体要求见附表4。
YP880、YP1200、YP1900、YP2500、YP3300、YP5900型水力测功机润滑部件见图二(b),根据用户要求及不同工况可分别采用油雾润滑、滴油润滑及泵油润滑。
(1)油雾润滑
当测功机在中高速工作时,可采用油雾润滑。油雾润滑主要由气源、减压阀、油雾器、气管等组成。单台测功机可采用V-01/10压缩机作为气源。测功机在开动之前,必须首先保证油雾系统正常工作。
油雾润滑详见油雾润滑装置使用说明书。
(2)滴油润滑
当测功机在偏低速工作时,可采用滴油润滑方式,而不采用油雾润滑或泵油润滑。
如YP1900型水力测功机的工作转速在2200r/min以下;YP3300 型水力测功机的工作转速在1800r/min以下时,均可采用滴油润滑。
(3)泵油润滑
当测功机在偏高转速工况下,为了不使轴承温度上升过高,可采用泵油润滑。
泵油润滑主要由泵站与进出油路系统组成。
泵油润滑必须先起动泵站,使测功机的轴承得到润滑,才能开动测功机主机,加水进行试验。泵油进油压力可通过LI-10节流阀调节,压力控制在0.01~0.05Mpa范围内。建议只要满足工况,压力尽可能偏低些,以减小泄漏。
四、测功机的工作原理和功率计算
1、 工作原理
动力机通过联轴节带动测功机主轴上的转子组件同步旋转,搅动了工作腔中的水。由于转子旋转所产生离心力及转子凹坑的作用,水在侧壳与转子凹坑之间产生强烈的水涡流,它给外壳一转动力矩,使动力机的转矩由转子传给外壳,装在外壳壳体上的制动臂将随着转动一角度,从而将制动力传给与制动臂连接的拉压力传感器,通过电子数显装置显示其制动力的大小。
测功机通过电动排水阀控制蝶阀开度,或通过自动调节装置控制排水执行器,由排水执行器控制蝶阀的开度,以改变测功机工作腔内水的压力来改变吸收功率的大小。同时测功机的转速可由测速传感器测得,在电子显示仪器上显示出来。
由于是压力控制式水力测功机,又是通过改变蝶阀开度来调整工作腔压力的,整个过程必须是自动闭环控制系统,故压力式YP型测功机必须配备具有自动控制功能的电控柜才能运行工作。
2、 计算
(1)功率计算
由结构设计保证,当静校臂长为973.8mm时,测功机的有效功率可用下列简易公式来计算:
P= F n/ 10000 (千瓦)
式中:F---负荷(牛顿)
n---转速(转/分)
(2)扭矩计算
M=F.L (牛.米)
式中:F---负荷(牛顿)
L---计算臂长为0.9549(米)
五、测功机的供水系统
测功机的供水可用循环供水系统。采用高位稳压水箱供水或低位稳压水箱加管道泵增压供水。一般北方室内水箱即采用低位稳压水箱加管道泵的形式(见图八)。
测功机进水口处进水压力可大于等于0.05MPa,一般为0.05~0.15MPa, 当测功机在满水线上工作时,要求供水压力高些;低于满水线工作时,水压可低些。供水压力应保持稳定,压力波动的范围为±5KPa。测功机工作时,供水压力的高低,直接影响测功机侧壳与转子凹坑工作腔的气蚀程度。
测功机工作过程中,进水不能间断。进水量大约在每千瓦小时20公升左右,排水温度不能超过70℃,一般经济排水温度在55~60℃之间。
循环供水系统主要由散热水池、水泵、稳压水箱、进排水连接管路、水压表、阀门等组成。水池的容积应考虑散热和测量最大功率的耗水量,并有一定的富余量以补偿循环过程中水的耗散,在条件许可的情况下,建议尽量加大水池容积。水箱的容积应考虑最大耗水量时的稳压供水(耗水量见技术参数表)。在水泵供水大于测功机的最大功率的耗水量时,稳压水箱的容积可推荐为2~5 M3 左右,耗水量小的可取较小值,耗水量大的可取较大值。水池的容积一般为水箱容积的5倍左右。有条件的话,可尽量大一些。 进、排水管口径应适应测功机进排水口口径的要求。 进水管路上应串接一只闸阀和一只水压表。闸阀用于调节进水压力,对于固定的发动机型,一般一次调定后就不再动了,故该闸阀可装在任何方便的位置,而测功机进水管上的球阀则用于启闭供水。 排水管路一般取比进水管路更大的通径。排水管可用陶土管通向水池,使之循环。若用户水源丰富亦可排入下水道。排水管路应注意两个问题,一是排水不能与溢水管相串通,以防排水压力过高向溢水管反向灌水;二是排水管道如不通畅,会造成背压过大,影响测功机正常测试。因此,管路安排应尽可能短且弯头要少。 循环水经除垢器后作为测功机进水,将减少测功机内水垢的形成。如无水质处理设备,允许用自来水或清洁的河水,但不得有泥沙等杂质混入。不宜使用海水。可根据不同地区的水的PH值是否偏高而考虑是否需要安装除垢器。
图九 供水系统示意图
六、测功机的安装
1、 台架基础
试验台台架基础用于安装测功机和发动机。基础设计好坏将对试验质量产生很大影响,在台架基础设计时,应注意考虑以下几个方面。
(1)试验台应靠近有水源的一边,基础与墙壁距离不少于1.5米,并应注意使测功机离开墙壁距离留有校正臂的安放位置。整个试验室要求通风好,光线足,照明设备符合规定要求。
(2)台架基础应有足够的质量,以使试验台的振动降至最低限度。地基基础用高于90号混凝土浇注,配料按体积为1份水泥:2.5份黄沙:4份石子。基础的浇注应考虑到被测对象,使安装好的测功机能试验各种型号的动力机。基础上的地脚螺栓位置可按图十施工。(图十为水力测功机安装地基图)
(3)应采取有效的隔振措施,减少试验台振动能量向外界传递。简单的办法是在混凝土基础下面垫一层黄沙,并在基础四周开200mm宽、800mm深的防震槽,用木屑或炉渣充填,沥青盖顶。
(4)地下埋线管应在浇注混凝土前进行,动力机排气管如安装在地下时,则应和线管相距0.5米以上。
2、测功机的安装
在紧固地脚螺栓前需用水平仪校正测功机在两个互相垂直方向的水平,其安装精度为1/1000,以保证测功机测试的灵敏度和正确性。
3、动力机的安装
动力机应按动力机安装要求进行。对一些常变换动力机型号的台架,动力机最好安装在三个自由度均可变位的附件支架上(我厂有此产品供应),使安装和调整更方便。发动机安装油门执行器时,要确保发动机调速手柄行程在油门执行器行程之内。
4、联接
测功机与动力机连接,应采用万向联轴器或弹性联轴器。当使用刚性联轴接时,应特别注意二轴安装的同轴度,一般要求同轴度在Φ0.05mm以内。
无论哪种连接方式,都要尽可能减少作用于测功机上的附加力矩和轴向力,以免引起发热或发生设备、人生事故,从而无法正常测试。建议在靠近测功机端加装一辅助支座,为一种较好的方法。
在出厂试验中,测功机作为负载,不考虑功率的损失,或者说,测试精度要求不太高的情况下,小型动力机与测功机的连接,采用皮带柔性传动或胎型弹性联轴器也是可行的。
图十 水力测功机安装地基图
安装地基尺寸、进排水口径及位置见表。 YP型水力测功机安装地基尺寸及测功机底座溢排水口位置一览表
YP型水力测功机进排水口径及位置一览表
本表未注单位:毫米。
七、测功机的校正
静校臂一般设计制作为973.8mm。使砝码盘上放1公斤砝码,相应显示10牛顿;2公斤显示20牛顿......。
由于结构原因,如臂长放大或缩小一定的倍数值,则显示值也应相应放大或缩小同样的倍数。
具体操作如下:
1、安装静校工具:校正臂、挂篮;
2、仪器数字标定请阅读EMC900控制仪说明书进行校正操作;
3、校正结束请拆除校正工具;
4、必须重新启动EMC900控制仪,待100秒倒计时结束方可正常使用。
八、测功机的使用
1、开机前
(1) 松开传感器保护装置的螺栓,使定子呈自由状态。
(2) 检查联轴节与主轴的联接情况。
(3) 检查动力机与测功机的同轴度。
(4) 检查进、出水管道系统的联接及流通情况。
(5) 外表擦洗干净,各润滑点加注润滑油,并转动主轴,检查转子与其它部件是否有碰撞和转动不灵活等现象。
(6) 校正符合要求。
(7) 全开排水蝶阀(负荷最小位置)。
2、开机试验
(1) 开动动力机带动测功机主轴以同一转速旋转,待动力机运转正常后,即可进行试验。
(2) 全开进水阀,调节排水蝶阀开度大小,直到与动力机的工况相一致。
(3) 在做发动机外特性、调速特性、负荷特性及其它特性试验时,可选择与测功机配套的电控柜控制的恒位置、恒扭矩、扭矩平方特性、恒转速四种控制方式。
(4) 对于某些发动机,有时在一固定的测功机供水压力下不能满足全部工况点的试验要求,这可在不同的试验工况下适当调节供水压力。
3、试验结束
(1) 关闭进水阀。
(2) 全开排水阀。
(3) 发动机在低速下运行几分钟后停机。
(4) 旋转传感器保护装置,使定子呈现锁住状态,传感器不受力。
(5) 切断与电控柜相连的电源。
(6) 停止润滑系统供油。
(7) 如较长时间不做试验,需把测功机底部放水阀打开,放去积水,有条件的话可旋开外壳上端螺塞(除YP1900 外)用压缩空气吹净积水,螺塞位置见图三(a)、(b)。
使用中为防止轴承进水,请务必记住!!!“先开机,后放水;先关水,后停机”的原则。保证测功机在转动状态下进水,但又应防止测功机在无水状态下连续运转时间过长而烧坏密封部件,(要求无水状态工作时间不大于2分钟)。
| |||||||||||||||||||||||||||||||||||||||||||||||||||||||||||||||||||||||||||||||||||||||||||||||||||||||||||||||||||||||||||||||||||||||||||||||||||||||||||||||||||||||||||||||||||||||||||||||||||||||||||||||||||||||||||||||||||||||||||||||||||||||||||||||||||||||||||||||||||||||||||||||||||||||||||||||||||||||||||||||||||||||||||||||||||||||||||||||||||||||||||||||||||||||||||||||||||||||||||||||||||||||||||||||||||||||||||||||||||||||||||||||||||||||
| 【刷新页面】【加入收藏】【打印此文】 【关闭窗口】 | |||||||||||||||||||||||||||||||||||||||||||||||||||||||||||||||||||||||||||||||||||||||||||||||||||||||||||||||||||||||||||||||||||||||||||||||||||||||||||||||||||||||||||||||||||||||||||||||||||||||||||||||||||||||||||||||||||||||||||||||||||||||||||||||||||||||||||||||||||||||||||||||||||||||||||||||||||||||||||||||||||||||||||||||||||||||||||||||||||||||||||||||||||||||||||||||||||||||||||||||||||||||||||||||||||||||||||||||||||||||||||||||||||||||
| 上一篇:两厢温度冲击试验箱 下一篇:YPS型单向水力测功机 |
服务热线:400-111-3688 (24小时)
工作时间:7:30-11:30 12:30-16:30 (双休)


