产品中心

首页 - 产品中心 安全卡盘(安全夹头)

products 产品列表

 安全卡盘介绍
来源: 点击数:19555次 更新时间:2023/7/11 22:51:25
安全卡盘

安全卡盘特性:
1.安全卡盘是为频繁需要连接传动和脱离动作的工作机构,提供快速、精确、简易及安全的联轴器
2.卡盘托口采用特殊的热处理工艺,极大的延长了使用寿命
3.卡盘所有关键尺寸均为加工中心、数控机应床加工,保证其定位的精度
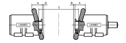
卷轴两侧规格尺寸:


气胀轴两侧尺寸:


规格
A
B
X=(C-D)
E(17)
F
G
H
28
61
8
0.5
22-30
4
21.50-0.2
1
35
73
13
1.5
30-40
5
240-0.2
1.5
50
81
13
1.5
40-50
5
260-0.2
2
75
106
16
1.5
50-80
6
340-0.2
3
100
140
28
2
80-120
15
500-0.2
5


安装注意:“兰菱”牌安全卡盘制造时已经保证了工艺精度在允许的范围之内,但是在与气胀轴一起安装时其不同心度必须小于0.3°,这样才能有助于安全卡盘的快速装夹与脱离,并能保证气胀轴轴头与卡盘脱口减少磨损、延长寿命。如果误差过大,还将引起料架和机器的的振动,请特别关注!

我们都知道卡盘作为我们机床上常用的机械装置,常常用来实现工件夹紧定位等一系列操作,一般有卡盘体活动卡爪,卡爪驱动机构等三部分组成,也可用于各类支配是各类机床上不可或缺的一部分,卡盘按照转速可分为三爪四爪。运动方式有动力传动锥齿轮带动平面锥形螺纹,然后带动爪向中心运动,各个爪的螺距相等,运动距离也相等,实现定点夹紧,而卡盘按照驱动方式也可分为三类。手动式,电动式和气动式,其中气动式与手动卡盘相比,气动卡盘只需按一下按钮,瞬间即可自动定心或离心,加紧工件,提高工作效率,而且加持力稳定可靠,可调大小。从服装加精度一般为0.01~0.03毫米之间,精度较高,与电动式烤盘相比成本更低,维修更换卡爪也更为方便,更适合长时间运行工作,因此广泛适用于各类机械加工设备。

【刷新页面】【加入收藏】【打印此文】 【关闭窗口】
上一篇:凸键式气胀轴 下一篇:滑动安全夹头
在线留言
*
*
*
看不清楚请点击刷新验证码